

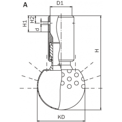
La tête de lavage TANKO RB est une tête de lavage rotative fonctionnant comme la boule de lavage fixe mais conçu comme appareil rotatif.
La tête de lavage TANKO RB est une tête de lavage rotative dotée d'orifices de pulvérisation en forme d'alésages. Fonctionnant comme la boule de lavage fixe, avec de plus grands débits à des pressions basses, mais conçu comme appareil rotatif, le TANKO RB humidifie en peu de temps les parois des réservoirs. Selon l'application, un nettoyage rapide est possible. En cas de défaillance du système rotatif, la fonction de base de l'appareil n'est pas affectée.
En cas de blocage d'un des différents orifices de pulvérisation, celui-ci peut être compensé, grâce à la rotation de l'appareil, par les autres orifices de pulvérisation. Une humidification complète des parois des réservoirs est ainsi garantie.